728x90
반응형







12월 26일, 소니는 새로운 형태의 PS 컨트롤러인 듀얼쇼크 5에 대한 특허권을 승인받았습니다.
특허는 WIPO(세계 지식 재산권 기구) 데이터 베이스를 기반으로 하고있지만, 하지만 이 컨트롤러로 소니가 무엇을 하려는지는 아직 모릅니다.
(의견) 확실히 예상되는건 이 컨트롤러가 PS5 패키지에 포함 될 것이라는 것입니다.
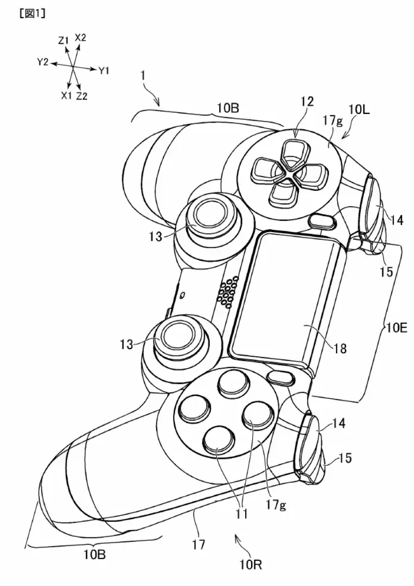
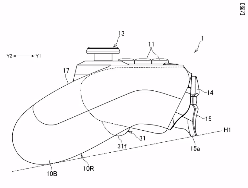
이 컨트롤러의 디자인 자체는 대부분의 플레이어가 PS4에서 사용했던, 친숙한 듀얼쇼크 4 디자인과 유사합니다.
새 컨트롤러는 전면에 보이는 버튼, 방향 패드 및 아날로그 스틱에 대해 듀얼쇼크 4와 동일한 레이아웃을 사용합니다.
원래 컨트롤러 앞에 있언던 PS 버튼은 특허 설계에서 볼 수 있듯이 새로운 컨트롤러에는 포함되지 않는다는걸 확인 할 수 있습니다.
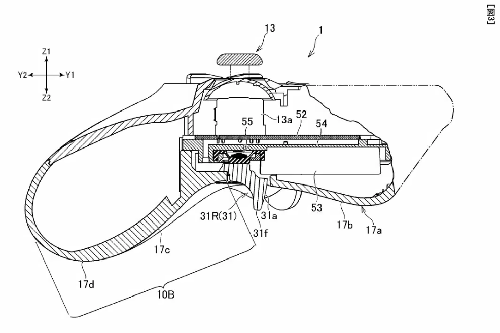
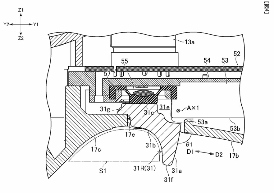
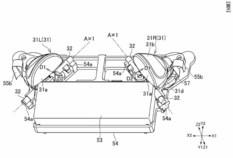
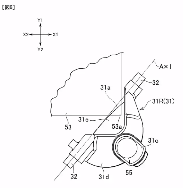
컨트롤러의 뒷면은 조금 더 흥미롭습니다.
이 특허는 최종적인 디자인은 아니지만 새 컨트롤러에 대한 잠재적인 설계를 포함하고 있으며, 여기에는 두개의 새 버튼이 포함되어 있습니다.
새 버튼은 컨트롤러에 있는 다른 버튼의 기능을 수행할 수 있도록 프로그래밍할 수 있는 것처럼 보이므로 원하는 경우 O버튼이나 △형 버튼과 동일한 작업을 수행할 수 있습니다.
번역 중 오역과 의역이 있을 수 있습니다.
원문 : https://www.polygon.com/2019/12/27/21039289/sony-new-playstation-controller-back-triggers-ps5-ps4
728x90
반응형
'it' 카테고리의 다른 글
| [정보] PS5의 새로운 루머들 (0) | 2020.01.14 |
|---|---|
| [정보] 또 유출된 PS5 개발킷 (0) | 2020.01.07 |
| [정보] 스틸시리즈 블랙프라이데이 세일 (0) | 2019.11.24 |
| [정보] 거의 확정된 갤럭시 S11 디자인 (0) | 2019.11.22 |
| [정보] 갤럭시 S11은 120Hz 주사율 디스플레이? (0) | 2019.11.21 |